2025年3月13日,经评审委员会的审慎评选,由北京大学视频与视觉技术国家工程研究中心牵头的感知无损压缩标准团队荣获2024年度AVS产业技术创新奖。
感知无损压缩标准团队主要参与单位:北京大学、上海海思技术有限公司、杭州海康威视数字技术股份有限公司、绍兴市北大信息技术科创中心、紫光展锐(上海)科技有限公司、鹏城实验室、广州柯维新数码科技有限公司。

图1感知无损压缩标准团队获AVS产业技术创新奖
感知无损压缩标准团队历经近4年的努力攻关,成功制定《信息技术感知无损压缩第1部分:图像》团体标准(以下简称PLLC),标准号:T/AI 129.1-2024。该标准填补了国内在感知无损压缩领域的技术空白,支持8K以上超高分辨率、RGB/YUV、444/422/420/400等多种格式的视频信号高效处理,具备良好的硬件实现友好性和极低编码传输延时,满足下一代视频通信和存储的高性能需求。感知无损压缩标准作为AVS4视频编码标准的重要探索方向,不仅增强了我国在视频编解码领域的国际话语权,还为AVS产业生态的升级提供了重要支撑,开拓了AVS标准的新局面。
值得一提的是,通用多媒体接口(General Purpose Multimedia Interface,GPMI)已将PLLC作为其视频数据压缩的核心算法。GPMI凭借PLLC高效的编码性能,支持最高144Gbps的高带宽传输,远超对标技术的48Gbps,轻松应对8K120帧的超高清视频传输需求[1]。经过三年的深入研发,PLLC包含了一系列“超低延时、硬件友好、主观无损”的轻量级图像压缩技术。以下将简要介绍PLLC的关键技术特性、主客观性能测试、系统产品部署以及未来展望。
一、PLLC关键技术特性

图2 PLLC参考软件平台(HIM)信号处理流水
PLLC标准定义了两个编码档次,分别为接口档次和帧存档次。接口档次主要面向信号传输接口的硬件芯片(Application Specific Integrated Circuit,ASIC)设计,帧存档次则可广泛应用于主观无损或信号无损质量等级的图像缓存,减轻图像处理系统中的内存与带宽压力,提升系统总体性能。
如图2所示,PLLC标准的关键技术可分为信号处理、模式预测、量化、系数编码和码率控制五个部分组成。下面简要介绍每部分的实现方案和设计目的:
1.信号处理:PLLC支持将信号切分为等尺寸的矩形片进行并行处理,编码过程中最小的单元为16×2的一组像素。这种处理方式使得PLLC在保持高压缩效率的同时,能够实现超低延时的数据传输。
2.预测模式:PLLC包含点预测、普通帧内预测和块复制帧内预测三类预测模式,另外还包含两种回退模式用于在所有预测模式均不可用时保证码率控制的稳定性。普通预测模式包括直流预测模式和角度预测模式,块复制模式则通过分块在已解码像素中进行纹理匹配,极大提高对于重复纹理内容(如屏幕内容和有规律图案)的压缩效率。通过比特代价和重构失真的综合评估,获得编码单元的最优编码模式。这一设计支持了高度并行的硬件处理,提高了编解码的效率。

图3 PLLC点预测技术

图4 PLLC普通帧内预测技术

图5 PLLC块匹配预测技术
3.量化和系数编码:PLLC使用移位量化和半定长系数编码,在保证低硬件成本的前提下实现对预测残差的能量聚集。此外,PLLC还支持在特定点位逐像素点的量化参数微调,显著优化纹理细节的主观重建质量。
4.码率控制:码率控制是恒定码率压缩的关键模块,PLLC提出一种基于历史先验自适应更新的码率估计模型,通过对纹理特征建模导出其预分配的编码比特数,随后结合视觉无损的比特下界与位流缓冲的比特上界进行适当放缩,最终映射导出实际的量化步长。通过上述码率控制技术,实现了稳定的恒定码率传输和视觉无损的主观质量。
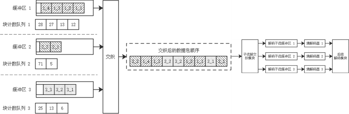
5.子流交织:编码端将不同分量的语法元素使用多个熵编码器进行处理得到多个子流,并以固定大小的数据包将多个子流交织成压缩位流;对应的,解码端使用不同的熵解码器并行解码不同子流。

图6 PLLC子流交织技术示意
二、主客观性能测试
在AVS工作组遴选的27组测试序列中,PLLC标准参考软件表现出了优秀的客观重建质量。如图7所示,在ISO 29170-2国际主观质量标准的判定中,PLLC闪烁测试有25/27条序列达到主观无损的判定标准,并排测试全部27/27条序列均达到主观无损。

图7 客观重建数据与主观评测结果(序列17为噪声序列)
在测试的27组信号中,难度最高的10条信号被进一步用来进行PLLC与国际同类压缩标准DSC的主观质量对比,其中PLLC的主观质量在闪烁测试中与之持平(均为8/10条序列达到主观无损),在并排测试中更优(PLLC: 10/10; : 9/10)。这一对比结果证实了PLLC标准达到了国际领先水平,为中国在国际视频浅压缩编码领域的竞争中赢得了重要的一席之地。
三、系统产品部署
国内多家厂商已开始基于PLLC的相关硬件产品开发与部署。作为国内领先的控制台设计与制造商,北京铁力山科技股份有限公司率先采用FPGA技术实现了PLLC的标准部署,展示了该标准在压缩效率与硬件适配上的卓越表现。北京大学视频与视觉技术国家工程研究中心与铁力山紧密合作,共同研发了基于PLLC的高速实时FPGA编解码系统,如图8所示。该系统能够处理4路实时采集的4K视频,通过PLLC编码器进行实时压缩后,经由局域网传输至接收端,随后通过FPGA实时解码器解码并输出至显示屏。该系统可以实现8倍无损压缩效果,充分展示了PLLC标准在高速高分辨率视频高效视频压缩传输应用中的强大性能。
图8 (a)系统结构图,(b)播放示意图
2024年10月,GPMI正式发布,并将PLLC作为其视频数据压缩的核心算法,支持8K120帧超高清视频的低延迟编码传输。GPMI汇聚了产业链上下游50余家头部企事业单位,包括华为、创维、海信等芯片厂商、仪器仪表厂商、运营商及终端厂商,为音视频产业的协同发展提供了新的契机。

图9产业协同创新示意图[1]
GPMI支持多种形态的媒体终端,涵盖电视、显示屏、投影机到XR设备、游戏主机等,为用户带来更加丰富和沉浸式的视听体验。通过与智能卡的结合,GPMI能够实现超分辨率、语音交互、云电脑等多种AI应用,进一步提升用户的使用体验。此外,GPMI与星闪等创新技术的融合,进一步简化了连接方式,实现了超高清大屏与智能媒体卡的便捷接入,以及音箱的组网传输等功能。这些创新应用不仅拓展了GPMI的使用场景,也为音视频产业的转型升级注入了新的动力。

图10 GPMI创新赋能示意图[1]
在这一过程中,PLLC以其高效的压缩性能和卓越的数据还原能力,为GPMI提供了坚实的技术支撑。PLLC不仅显著降低了存储与传输成本,还确保了多媒体内容的高保真体验,充分展现了其在产业应用中的实用价值,为GPMI生态的构建和音视频产业的创新发展提供了重要助力。
四、未来展望
AVS感知无损压缩团体标准的成功发布,不仅为“8K+”超高清视频海量信号提供了超低延时传输和处理的全新国产化技术方案,也为我国视频行业的自主创新和高效发展奠定了坚实基础。展望未来,随着技术的不断成熟和应用的持续拓展,AVS感知无损压缩技术将在全球范围内推动超高清视频产业的快速发展,为观众带来更加丰富、震撼的视觉体验。
在技术层面,PLLC作为AVS4标准体系的重要组成部分,将持续优化其压缩效率和硬件适配性,进一步降低编码复杂度和传输成本,为更多应用场景提供高效、可靠的技术支持。同时,随着GPMI等多媒体接口技术的广泛应用,PLLC将在智能终端、XR设备、云游戏等领域发挥更大作用,推动音视频产业链的深度融合与协同创新。
在产业层面,PLLC的成功应用将加速国产化技术在全球市场的渗透,提升我国在视频编解码领域的国际竞争力。未来,随着更多企业的参与,PLLC有望成为超高清视频低延迟传输的行业标杆,为全球用户提供更高品质的视频服务。
此外,随着人工智能、物联网等新兴技术的快速发展,PLLC将与AI、5G、星闪等技术深度融合,进一步拓展其在智慧城市、远程医疗、虚拟现实等领域的应用潜力,为数字经济的蓬勃发展注入新动能。未来,AVS感知无损压缩技术不仅将引领超高清视频产业的变革,更将为全球数字化进程贡献中国智慧与中国力量。
参考文献
[1] https://www.cesi.cn/cesi/202412/10749.html